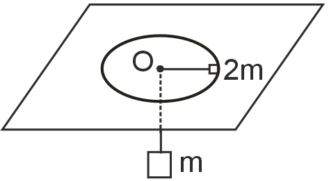
A mass 2m rotating freely in a horizontal circle of radius 1 m on a frictionless smooth table supports a stationary mass m, attached to the other end of the string passing through smooth hole O in table, hanging vertically. Find the angular velocity of rotation.

Know your College Admission Chances Based on your Rank/Percentile, Category and Home State.
Get your JEE Main Personalised Report with Top Predicted Colleges in JoSA
2m(1) ω2 = mg ω = = rad/s