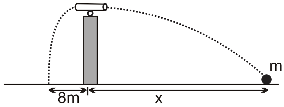
A cannon of mass M = 200 kg is positioned a top a narrow wall as shown. It fires a ball of mass m = 2kg horizontally across a plane. Unfortunately the gunners forgot to lock the frictionless wheels of the cannon and it immediately rolls backwards off the wall, landing a distance 8 m from the wall as shown. Neglecting air friction, at what distance x (in meters) from the base of the wall does the ball land ?

Know your College Admission Chances Based on your Rank/Percentile, Category and Home State.
Get your JEE Main Personalised Report with Top Predicted Colleges in JoSA
By conservation of momentum
– 200 × v1 + 2 × v2 = 0
100 v1 = v2 ... (1)
v1 = v2 / 100
v2 · t = x
x = 800 m